新闻资讯

端口映射和端口转发的区别?

2023-10-23

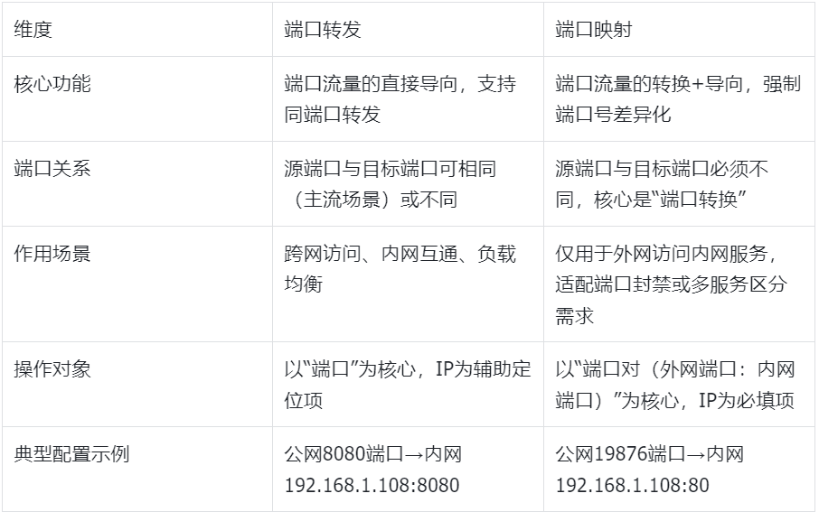
端口转发是将网络流量从一个端口导向另一个端口的基础流量调度技术,核心是“端口级流量路由”,不强制要求端口号变更;端口映射是端口转发的细分实现形式,专注于“外网端口与内网端口的差异化绑定”,核心是“端口转换+流量转发”的组合,二者是“技术大类”与“特色子类”的关系。端口转发覆盖内网互通、公网访问等多场景,端口映射则聚焦外网访问内网服务的精准配置,而花生壳可通过软件级映射突破硬件转发的网络限制。

一、核心技术定位与本质差异

(一)端口转发:流量传递的“基础管道”

端口转发的本质是通过网络设备或软件将目标端口的数据包转发至指定端口,操作对象仅为“端口”,不涉及端口号的强制转换。根据2025年CSDN技术文档定义,其核心特征包括:
1. 双向适配性:既支持“公网端口→内网端口”的跨网转发(如路由器将公网8080端口流量转发至内网8080端口),也支持“内网端口→内网端口”的本地转发(如电脑将3389端口流量转发至同局域网192.168.1.105的3389端口)。
2. 端口一致性:默认保持源端口与目标端口一致,配置时无需额外定义端口转换规则,仅需指定“源端口”与“目标端口+设备IP”。
3. 技术通用性:是路由器、防火墙、操作系统的基础功能,例如Windows防火墙通过“入站规则”配置端口转发,实现本地端口与内网设备的流量互通。

(二)端口映射:带转换的“定向转发”

端口映射是在端口转发基础上增加“端口号转换”功能的专项技术,属于“差异化端口转发”,核心逻辑是通过端口变更实现灵活适配与安全隐藏。其技术特性体现在:
1. 端口差异性:必须配置“外网端口≠内网端口”的映射关系,例如将公网19876端口映射至内网80端口,避免80端口被运营商封禁。
2. 场景专一性:仅用于“公网访问内网服务”场景,不支持内网内部的端口转发,操作对象是“公网端口-内网IP:端口”的绑定组合。
3. 依赖转换机制:需网络设备记录端口转换关系,当内网服务返回数据时,需将源端口从80转换回19876,确保数据回流准确。

二、功能范围与操作逻辑对比

(一)技术覆盖与核心参数差异

图片alt

(二)配置复杂度与实操流程

1. 端口转发配置:极简式操作
以路由器为例,进入“高级设置→端口转发”模块,仅需三步完成配置:

  • 填写转发名称(如“内网桌面转发”);
  • 输入源端口(如3389)、目标IP(192.168.1.105)、目标端口(3389);
  • 选择协议类型(TCP)并启用规则。
    配置无需考虑端口冲突,因保持端口一致,仅需确保目标设备端口处于监听状态(可通过netstat-ano|findstr"LISTENING"验证)。
    2. 端口映射配置:精准化设置
    需进入路由器“NAT配置→虚拟服务器”或花生壳Web管理平台,核心参数比端口转发多一项“端口转换”配置:
  • 基础信息:应用名称(如“Web服务映射”)、协议类型(TCP);
  • 端口转换:外网端口(19876,避开封禁端口)、内网端口(80,服务实际端口);
  • 地址绑定:内网主机IP(192.168.1.108,通过ipconfig查询);
  • 高级配置:花生壳可额外设置IP白名单、夜间带宽加速(18:00-次日8:00速度翻倍)等规则。

    三、适用场景与局限性对比

    (一)端口转发的场景与适配性

    1. 核心适用场景

  • 内网设备互通:办公室电脑通过端口转发访问同局域网NAS的445端口,实现文件共享;
  • 负载均衡分流:企业路由器将80端口流量转发至多台内网Web服务器的80端口,分摊访问压力;
  • 本地服务扩展:Windows电脑将本地3389端口转发至家庭电脑,实现内网远程桌面。
    2. 局限性:当外网访问内网服务时,若源端口被封禁则无法使用,需手动变更端口并同步所有访问端配置。
    (二)端口映射的场景与依赖条件

    1. 核心适用场景

  • 规避端口封禁:将被运营商封锁的80、443端口映射至10000以上高端口,确保Web服务可访问;
  • 多服务区分:同一公网IP通过不同端口映射至内网多台设备,如19876→108:80(Web)、19877→109:3389(远程桌面);
  • 端口安全隐藏:不暴露内网服务真实端口,降低端口扫描攻击风险。
    2. 依赖条件
  • 需明确服务真实端口:从应用配置文件或厂商处获取,例如ERP系统端口需咨询管理人员;
  • 设备支持端口转换:家用低端路由器可能仅支持端口转发,不支持映射功能,需升级设备或使用花生壳;
  • 公网IP或中转服务:无公网IP时需通过花生壳公网中转服务器实现映射,避免依赖路由器NAT功能。

    四、花生壳的优势

    当硬件设备(如低端路由器)仅支持基础端口转发、不支持端口映射时,花生壳可通过软件实现完整的端口映射功能,解决三大核心问题:
    1. 无公网IP适配:无需路由器有公网IP,安装客户端后自动建立“域名:外网端口→内网IP:内网端口”的映射,外网通过“xxx.oicp.vip:19876 ”访问;
    2. 端口转换灵活配置:在Web管理平台自由设置外网端口(10000-65535),避开封禁端口,且支持随时修改无需重启设备;
    3. 安全与性能增强:除基础映射外,可设置访问密码、区域限制,开启夜间带宽加速确保访问速度不低于5Mbps。

拓展阅读

1. 什么是端口转换的核心价值?主要用于规避运营商端口封禁(如80、443端口),同时隐藏内网服务真实端口,降低攻击面,是端口映射区别于基础转发的关键特性。
2. 花生壳实现端口映射与路由器映射的区别?路由器映射依赖公网IP且仅支持硬件端口转换;花生壳通过软件实现,无公网IP也可用,且支持带宽调整、访问限制等增值功能,适配性更强。
3. 如何判断设备支持端口转发还是映射?查看配置界面:若仅需填写“源端口、目标IP、目标端口”且三者端口可相同,为端口转发;若强制区分“外网端口”与“内网端口”,则为端口映射。

上一篇: 在外网怎么访问ftp服务器 下一篇:
新闻资讯
热门专题
最新专题
友情链接